平焊法兰(Slip-On Flange,简称 SO 法兰,部分场景也俗称 “板式平焊法兰”)是工业管道中结构最简单、成本最低的法兰类型之一,核心特点是 “管道穿入法兰孔 + 外侧角焊缝焊接固定”,无需复杂的颈部或承口结构,适用于低压、常温、对连接强度与密封要求不高的管道场景,是民用与通用工业管道中应用最广泛的法兰类型之一。
- 平板状法兰本体:整体为圆盘形金属板,中心开有一个略大于管道外径的通孔(管道可直接穿入),无颈部、承口等复杂结构,加工工艺简单(仅需切割、钻孔、加工密封面);
- 螺栓孔:沿法兰盘圆周均匀分布的通孔,用于穿入螺栓夹紧配对法兰;
- 密封面:法兰盘一侧的平面(或简单凹凸面),需搭配垫片(橡胶垫、石棉垫、四氟垫等)实现介质密封;
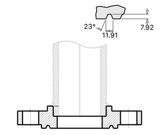
- 焊接坡口(可选):部分平焊法兰会在通孔外侧边缘设计浅坡口,便于管道穿入后焊接时形成角焊缝,增强连接稳定性。
- 管道穿入定位:将管道一端穿入法兰的中心通孔(管道外径略小于法兰孔径,间隙通常为 1-3mm),调整法兰位置使密封面与管道轴线垂直;
- 角焊缝固定:在法兰外侧与管道的连接处进行双面角焊缝焊接(或单侧焊接,根据压力要求),通过焊缝将法兰与管道固定(无需全熔透焊接,仅需焊透管道外壁与法兰盘的结合面);
- 密封夹紧:将两个配对的平焊法兰对齐,密封面间放置垫片,通过对角拧紧螺栓,利用螺栓的夹紧力压实垫片,填充密封面微小缝隙,阻止介质(液体、气体)泄漏。
- 结构简单,成本极低:无颈部、承口等复杂结构,原材料用量少,加工工艺简单(仅需车床加工密封面、钻床钻孔),价格远低于带颈对焊法兰、承插焊法兰,适合批量应用于低成本场景;
- 安装便捷,对焊工要求低:管道只需穿入法兰孔即可焊接,无需精准对中(间隙可通过调整法兰位置补偿),焊接为简单角焊缝(无需全熔透),普通焊工即可操作,安装效率高;
- 适用场景局限:因法兰与管道的连接仅依赖外侧角焊缝(强度低),且法兰盘刚性较弱(螺栓夹紧时易变形),无法承受高压(通常≤2.5MPa)和高温(通常≤300℃),密封可靠性也低于带颈法兰;
- 重量轻,适配性强:法兰本体轻薄,可适配多种材质的中小口径管道(如碳钢、不锈钢、塑料管道),尤其适合民用与低压工业的中小口径场景(DN15~DN600)。
- 平面密封面(FF):最常见类型,密封面为光滑平面,结构简单、成本低,但密封面积大,需较大螺栓力压实垫片,仅适用于低压常温场景(PN≤1.6MPa,T≤200℃),如民用给排水、压缩空气、普通蒸汽管道;
- 凹凸面密封面(MFM):密封面分为凸面与凹面,垫片嵌入凹面内(防垫片移位),密封性能略优于平面,适用于中低压场景(PN1.6~PN2.5MPa,T≤300℃),如小型化工设备的循环水管、润滑油管道;
- 榫槽面密封面(TG):密封面为榫槽结构(一个法兰带榫,一个带槽),垫片被完全包裹,密封性能极佳,适用于中压、易燃易爆或有毒介质的低压场景(如燃气分支管道、轻度腐蚀的化工管道),但成本较高,安装需对齐榫槽。
- 碳钢平焊法兰:如 Q235B、20#,成本最低、强度适中,适用于无腐蚀性介质(如水、空气、普通蒸汽)的民用与低压工业管道,是最主流的类型;
- 不锈钢平焊法兰:如 304、316,耐腐蚀性强,适用于轻度腐蚀介质(如弱酸性溶液、食品加工用水)或卫生要求场景(如食品、医药管道),价格高于碳钢法兰;
- 塑料平焊法兰:如 PP、PVC、PE,重量轻、耐腐蚀性极佳,适用于低压、常温的腐蚀性介质(如化工废液、民用污水),但强度低(不可承受冲击),温度上限低(≤80℃);
- 衬里平焊法兰:在碳钢法兰的密封面与内壁衬覆耐腐蚀材料(如四氟、橡胶),兼顾碳钢的强度与衬里材料的耐腐蚀性,适用于低压腐蚀性介质(如酸碱废液输送管道)。
不同标准规定了平焊法兰的尺寸、压力等级、密封面参数,选型需统一标准:
选型时需确保以下参数与管道、设备完全兼容,否则会导致安装失败或密封失效:
- 公称通径(DN/NPS):法兰的公称通径需与管道一致(如 DN50 管道对应 DN50 法兰),常见适用口径为 DN15~DN600(大口径≥DN600 需特殊定制,且强度风险高);
- 法兰孔径:法兰中心通孔的直径需略大于管道外径(间隙 1-3mm),如 DN50 碳钢管道外径 57mm,对应法兰孔径通常为 59mm(确保管道能顺利穿入);
- 压力等级(PN/Class):法兰额定压力需≥管道设计压力,平焊法兰常用压力等级为 PN0.6、PN1.0、PN1.6、PN2.5(对应 Class 150),严禁用于 PN>2.5MPa 的高压场景;
- 材质:需与管道材质兼容(如 304 管道配 304 法兰),同时耐受介质腐蚀(如酸性介质选 316 或衬里法兰,普通水选碳钢法兰)和工况温度(≤300℃);
- 密封面类型:根据压力和密封要求选择(低压选平面,中低压选凹凸面),且配对法兰的密封面需一致(如平面法兰配平面法兰,凹凸面法兰需凸面配凹面)。
- 民用管道:市政给排水管道、小区供暖管道、家用燃气表后管道、卫生间 / 厨房的冷热水管道(多为塑料或碳钢平焊法兰);
- 低压工业管道:工厂压缩空气管道(压力≤1.0MPa)、中央空调冷却水管道、普通蒸汽伴热管道(温度≤250℃)、机床冷却水管路;
- 临时 / 简易管道:工地临时供水 / 供电管道(后期需拆除,成本低)、小型设备的辅助管道(如风机润滑管道、水泵冷却管道);
- 低风险介质管道:无腐蚀性、无毒性的介质(如水、空气、普通润滑油),不适用于易燃易爆(如天然气主管)、有毒(如氯气)或高压介质管道。
- 管道穿入与定位:管道穿入法兰后,需确保法兰密封面与管道轴线垂直(偏差≤1°),避免因倾斜导致螺栓夹紧时密封面受力不均,引发泄漏;
- 焊接要求:推荐采用 “双面角焊缝”(法兰内侧、外侧各焊一道),焊缝高度需≥管道壁厚(如管道壁厚 3mm,焊缝高度≥3mm),确保焊接强度;焊接后需清除焊渣,检查焊缝是否有气孔、裂纹(低压场景无需无损检测,中压场景建议渗透检测 PT);
- 螺栓拧紧:采用 “对角均匀拧紧” 原则(如 4 个螺栓按 1-3-2-4 顺序,8 个螺栓按 1-5-3-7-2-6-4-8 顺序),分 2-3 次逐步拧紧至规定力矩(过松易泄漏,过紧会导致法兰变形或螺栓断裂);
- 介质与温度限制:严格遵守压力(≤PN2.5MPa)和温度(≤300℃)上限,不可用于高压蒸汽、高温热油或强腐蚀介质(如浓硫酸、浓盐酸),否则会导致焊缝开裂或法兰腐蚀;
- 定期维护:每季度检查螺栓是否松动、密封面是否渗漏(如出现水渍、油痕),发现垫片老化需及时更换,焊缝锈蚀需补漆或局部补焊。
平焊法兰(板式)常与带颈平焊法兰(SO)、承插焊法兰(SW)混淆,三者核心差异如下:
简言之,低压、常温、低成本、对强度要求低的民用 / 通用工业场景选平焊法兰;中低压、需略高刚性的场景选带颈平焊法兰;小口径、中低压、需精准定位的场景选承插焊法兰
滑动法兰,也称为SO法兰。它是一种在管道上滑动的法兰,内部设计略大于管道。由于法兰的内径略大于管道的外径,因此SO法兰可以通过法兰顶部和底部的角焊直接连接到设备或管道上。用于将管道插入法兰的内孔中。滑套式管法兰。正如它们的名字所表明的那样,这些管道法兰在管道上滑动。它们的内径略大于管道的外径。这些附件通过法兰顶部和底部的角焊缝连接到管道。
滑套法兰焊接的类型
SO法兰可分为SO焊板法兰和SO焊接轮毂钢管法兰。其机械特性介于整体法兰和环形法兰之间。结构简单,加工方便。所以滑动法兰焊广泛应用于各种流体管道。
根据不同的面,也有凸面型和环型关节面型的范围。
凸面滑套法兰
有一小部分从法兰上的滑动的底面挤出,这种类型是凸面法兰上的凸面滑动。该区域的作用是在安装过程中放置垫片座,以获得更好的密封性能。
随着压力等级的增大,这个凸起的面的高度也会更大。
RTJ 滑动法兰
凸面部分加工一个小槽,这种形式称为RTJ型,这种槽的作用是放置垫圈环,也用于密封,与射频型相比,RTJ是为高压使用而设计的。
滑动法兰使用滑焊连接设备,因此以下任一名称描述相同的法兰:
- 滑动焊接法兰
- 滑动法兰焊缝
- 法兰上的焊接滑动
- 滑动法兰焊接
- SO法兰
制造类型
滑动法兰可以通过锻造、钢材切割、铸造等方式制成。在这些制造类型中,锻造类型质量最好,也是最常见的用途,价格高于其他类型。所以在购买滑动法兰之前,你必须知道具体的工作环境是什么。
滑套法兰的优点

滑套法兰或 SO 法兰的价格通常低于对焊法兰,因此是我们客户的热门选择。
- 降低安装成本
- 安装过程中更容易与其他部件对齐
- 更好的防漏性
- 法兰内外焊接
- 准确切割管道所需的时间更少
- 由于管道在法兰上滑动,因此它与滑动法兰上的下轮毂兼容
滑套法兰与对焊法兰
- 滑套法兰的内压强度是对焊法兰的三分之二。
- 耐久性为WN法兰的1/3。
- SO法兰需要2个角焊,法兰内外一个。
- 焊接工作时,管端与法兰端之间应预留空间,以免损坏法兰面。
- 滑动法兰必须先与管道连接,然后再连接配件。(法兰+弯头的组合,或法兰+三通不可用,由于管件不在直端,不能完全滑入法兰孔。
滑动法兰通常比对焊法兰(对焊法兰)便宜,这就是为什么许多客户更喜欢选择它们的原因。是低压、中温管道系统常用的法兰之一。
另一方面,由于法兰孔大于管径,因此通常比其他法兰需要更多的焊接工作。所以耐用性不如对焊法兰长,在选择合适的法兰之前应考虑所有这些因素。
为什么叫滑法兰?
滑套法兰的孔径(内径)大于连接管的孔径,这使得它可以滑动/滑到管道上(滑到管道上)。管道和法兰之间没有完全熔透焊缝,因此由于焊缝完整性较低,其使用存在限制。
滑套法兰数据表
我们在这个网站上的数据表如下所示。为简单起见,仅显示符合 B16.5 的数据表。ASME B16.5 涵盖 1/2“ 至 24” 的法兰尺寸。对于大于此的尺寸,请访问我们的法兰数据表页面。
| 类 | 平面 | 凸起的脸 | 环形接头 |
|---|
| ANSI 150 | SO 法兰 ANSI 150 FF(英寸) | SO 法兰 ANSI 150 RF(英寸) | SO 法兰 ANSI 150 RTJ(英寸) |
| 安西300 | SO 法兰 ANSI 300 FF(英寸) | SO 法兰 ANSI 300 RF(英寸) | SO 法兰 ANSI 300 RTJ(英寸) |
| ANSI 400 | SO 法兰 ANSI 400 FF(英寸) | SO 法兰 ANSI 400 RF(英寸) | SO 法兰 ANSI 400 RTJ(英寸) |
| ANSI 600 标准 | SO 法兰 ANSI 600 FF(英寸) | SO 法兰 ANSI 600 RF(英寸) | SO 法兰 ANSI 600 RTJ(英寸) |
| ANSI 900 | SO 法兰 ANSI 900 FF(英寸) | SO 法兰 ANSI 900 RF(英寸) | SO 法兰 ANSI 900 RTJ(英寸) |
| 安西 1500 | SO 法兰 ANSI 1500 FF(英寸) | SO 法兰 ANSI 1500 RF(英寸) | SO 法兰 ANSI 1500 RTJ(英寸) |
| ANSI 2500 | SO 法兰 ANSI 2500 FF(英寸) | SO 法兰 ANSI 2500 RF(英寸) | SO 法兰 ANSI 2500 RTJ(英寸) |
为什么滑动法兰优于对焊法兰
对于许多用户来说,滑动法兰继续优于对焊法兰,原因如下:
- 由于它们最初的成本较低。
- 将管道切割成一定长度所需的精度降低。
- 更易于对齐组件。
- 滑套法兰在内压下的计算强度约为对焊法兰的三分之二。
主要特点
一些重要功能如下:
- 一种尺寸适合所有管道明细表。
- 制造商可以更轻松地将管道切割成滑套法兰的长度。
- 该法兰的厚度较小,可以更轻松地对准螺栓孔。
- 它们通常不适用于高压温度环境。

材料
管法兰采用所有不同的材料制造,如不锈钢、铸铁、铝、黄铜、青铜、塑料等,但最常用的材料是锻造碳钢,并具有机加工表面。
法兰焊接到管道和设备喷嘴上。因此,它由以下材料制成;
- 碳钢
- 低合金钢
- 不锈钢
- 异国情调材料(短管)和其他背衬材料的组合
ASME B16.5 和 B16.47 涵盖了制造中使用的材料列表。
- ASME B16.5 - 管法兰和法兰管件 NPS 1/2“ 至 24”
- ASME B16.47 - 大直径钢法兰 NPS 26“ 至 60”
常用的锻造材料等级有
- 碳钢: – ASTM A105、ASTM A350 LF1/2、ASTM A181
- 合金钢: – ASTM A182F1 /F2 /F5 /F7 /F9 /F11 /F12 /F22
- 不锈钢: – ASTM A182F6 /F304 /F304L /F316 /F316L/ F321/F347/F348
常用的astm牌号
| 材料 | 配件 | 法兰 | 阀 | 螺栓和螺母 |
|---|
| 碳钢 | A234 克 WPA | 答105 | A216 克 WCB | A193 Gr B7 A194 Gr 2H |
| A234 克 WPB | 答105 | A216 克 WCB |
| A234 克木塑 | 答105 | A216 克 WCB |
碳钢 合金 高温 | A234 Gr WP1 | A182 Gr F1 | A217 Gr WC1 | A193 Gr B7 A194 Gr 2H |
| A234 Gr WP11 | A182 Gr F11 | A217 GR型WC6 |
| A234 Gr WP12 | A182 Gr F12 | A217 GR型WC6 |
| A234 格 WP22 | A182 Gr F22 | A217 Gr WC9 |
| A234 克 WP5 | A182 Gr F5 | A217 克 C5 |
| A234 大 WP9 | A182 Gr F9 | A217 Gr C12 |
碳钢 合金低温 | A420 Gr WPL6 | A350 Gr LF2 | A352 Gr LCB | A320 Gr L7 A194 Gr 7 |
| A420 大 WPL3 | A350 Gr LF3 | A352 Gr LC3 |
| 奥氏体不锈钢 | A403 Gr WP304 | A182 Gr F304 | A182 Gr F304 | A193 Gr B8 A194 Gr 8 |
| A403 大 WP316 | A182 Gr F316 | A182 Gr F316 |
| A403 格 WP321 | A182 Gr F321 | A182 Gr F321 |
| A403 格 WP347 | A182 Gr F347 | A182 Gr F347 |
ASTM 标准定义了材料的具体制造工艺,并通过碳、镁、镍等允许量的百分比确定管道、管件和法兰的确切化学成分,并用“等级”表示。
法兰的常用材料包括不锈钢、碳钢、铝和塑料。材料的选择很大程度上取决于法兰的用途。例如,不锈钢更耐用,是大量使用所必需的。另一方面,塑料因其价格合理且易于安装而更适合在家中使用。法兰所用材料属于美国机械工程师协会的指定。
符合 ASTM 的法兰材料
管法兰(锻造牌号)最常见的材料是:ASTM A105(碳钢高温匹配 A53/A106/API 5L 管)、A350 牌号 LF1/2/3(碳钢低温匹配 A333 管)、A694 牌号 F42 至 F80(高屈服碳钢匹配 API 5L 管材牌号)、ASTM A182 牌号 F5 至 F91(合金钢法兰匹配 A335 管), A182 牌号 F304/316(不锈钢法兰与 A312 不锈钢管相匹配)、A182 Gr. F44/F51/F53/F55(双相和超级双相与 A790/A928 管相匹配)和各种镍合金牌号(铬镍铁合金、铬钴合金、哈氏合金、蒙乃尔合金)。
这些法兰的材料质量在 ASTM 标准中定义。
什么是 ASTM 等级?
例如,碳钢管可以识别为A级或B级,不锈钢管可以识别为TP304级或TP321级,碳钢管件可以识别为WPB级等。

法兰的国标标准主要有《GB/T 9112~9124-2010 钢制管法兰》,该标准由中华人民共和国国家质量监督检验检疫总局和中国国家标准化管理委员会于 2011 年 1 月 10 日联合发布,从 2011 年 10 月 1 日起实施,是推荐性标准。
《GB/T 9112~9124-2010 钢制管法兰》一共包括了 13 项标准,具体如下:
- GB/T 9112-2010:钢制管法兰类型与参数;
- GB/T 9113-2010:整体钢制管法兰;
- GB/T 9114-2010:带颈螺纹钢制管法兰;
- GB/T 9115-2010:对焊钢制管法兰;
- GB/T 9116-2010:带颈平焊钢制管法兰;
- GB/T 9117-2010:带颈承插焊钢制管法兰;
- GB/T 9118-2010:对焊环带颈松套钢制管法兰;
- GB/T 9119-2010:板式平焊钢制管法兰;
- GB/T 9120-2010:对焊环板式松套钢制管法兰;
- GB/T 9121-2010:平焊环板式松套钢制管法兰;
- GB/T 9122-2010:翻边环板式松套钢制管法兰;
- GB/T 9123-2010:钢制管法兰盖;
- GB/T 9124-2010:钢制管法兰 技术条件。
此外,还有一些其他相关的国标标准,如GB/T 14383-2015《锻钢制承插焊和螺纹管件》、GB/T 13402-2013《大口径碳钢管法兰》等。
关于法兰和法兰管件的最常见问题与法兰如何安装在特定的钢管和钢管端部有关。
法兰如何工作?

法兰具有垂直于其所连接的管道的平坦或齐平表面。连接过程涉及使用螺栓、粘合剂、套环或焊缝机械连接两个或多个面。由于连接要求,法兰必须适合其设计的设备或管道。这就是为什么有必要检查所有可能的规格和尺寸,以确定其尺寸、类型和材料是否正确。
法兰连接的三个部分是什么?
管法兰、垫圈和螺栓是构成法兰连接的三个部分。垫圈和螺栓通常由相同的法兰材料或经批准用于管道组件的材料制成。每个组件都有适合特定应用的各种材料,必须正确匹配才能正常运行。垫圈有两种常规类型:全面垫圈和环形垫圈。全罩式垫圈的螺栓孔可见,并与凸面垫圈配对。环形垫圈往往是较小的环,减去螺栓孔,并与平面法兰配对。固定法兰部件需要均匀且垂直地匹配表面,并根据需要进行调整以实现均匀配合。一旦所有表面都匹配,将法兰放在一起并固定至少两个螺栓。细化对齐方式,使剩余的螺栓孔匹配并紧固其相应的螺栓。
如何正确确定管道使用的法兰尺寸?
正确确定管道用法兰的尺寸不仅取决于法兰的类型,还取决于其兼容的管道。管道必须轻松安全地滑入法兰的内径,外径应覆盖墙孔。一旦确定了工作所需的特定法兰类型和材料,您将需要进行多次测量。您需要的四个测量值是内径、外径、螺栓孔数和螺栓孔中心。您需要将这些测量值中的每一个与相对的螺栓孔对齐,以获得最准确的读数。从边缘到边缘进行所有测量,并尝试尽可能精确以匹配正确的产品。将螺栓直径四舍五入到下一个半步或整步,因为螺栓的尺寸是半英寸或整英寸。完成所有四个测量值后,请根据制造商的表格检查它们以找到正确的法兰。大多数制造商在其网站上列出了这些规格,以便于参考。
法兰检测
在出厂前,每个法兰都经过检查以确保质量。在检查过程中,您必须检查以下内容;
- 主体外径和内径
- 螺栓圆和螺栓孔直径
- 轮毂直径和焊端厚度
- 轮毂长度
- 螺栓孔的直线度和对齐度
ASME B16.5 和 B16.47 标准涵盖了允许的检查公差。
法兰材料标准
法兰用于连接各个行业的管道或其他设备部件,它们有多种材料和尺寸。法兰材料标准由标准制定组织制定,描述了可用于制造法兰的不同材料的特性和特性。常用法兰材料标准的一些示例包括:
- ASTM A105:本标准涵盖适用于高压应用的锻造碳钢管道部件,包括法兰。
- ASTM A182:本标准涵盖锻造或轧制合金钢管法兰、锻造管件以及用于高温使用的阀门和零件。
- ANSI B16.5:本标准规定了钢管法兰和法兰管件的尺寸、公差和标记。
- DIN 2632-2638:本标准定义了钢制成的法兰的尺寸和公差,包括碳钢、不锈钢和其他合金。
- ASME B16.47:本标准涵盖大直径钢法兰,通常用于需要更大孔径的高压应用。
- BS 4504:该英国标准涵盖用于管道、阀门和管件的圆形法兰,公称尺寸范围为 15 至 600 毫米。
法兰材料标准的选择将取决于多种因素,例如应用、环境、输送的流体和所需的性能特征。例如,高压应用可能需要由高强度和耐用性材料制成的法兰,而腐蚀性环境可能需要由具有良好耐腐蚀性的材料制成的法兰。
法兰连接
连接法兰的方法有很多种,包括螺纹、焊接或螺栓连接。螺纹法兰最适合低压或较小的管道,因为它可以保持其密封性。当您的管道较大或压力较高时,焊接法兰是优选的。锅炉房是可能使用焊接盲板法兰的地方之一,因为涉及高压。
法兰接头:法兰、螺栓、螺母和垫片
法兰是管道、阀门和其他流动装置末端的外肋,用于组装它们。
法兰尺寸符合特定标准:DIN、ANSI、AS、BS、JIS
法兰连接需要两个法兰(“主法兰”和“配套法兰”)、一组螺栓和螺母(其数量取决于法兰直径和等级)以及两个密封垫圈。法兰连接必须由经过培训的人员执行和监督,因为接头的质量对管道系统/管道的性能有关键影响(标准 TSE – TS EN 1591 第 1-4 部分,“法兰及其接头”,定义了执行正确法兰连接的许多要求)。虽然接头的所有元件都至关重要,但经验表明,大多数泄漏是由密封元件(即垫圈)安装不当引起的。
典型的管道与法兰连接是焊接或螺纹的。焊接法兰用于高压和高温、直径大于 2 英寸的管道和管道系统。
螺纹连接用于较小直径的安装,并且不会受到严重的机械力,例如膨胀、振动、收缩、振荡(会使螺纹接头破裂的力)。在所有这些关键情况下,建议使用对焊连接。

应用
法兰是连接管道、阀门、泵等设备形成管道系统的方法。它还提供了易于清洁、检查或修改的通道。
当需要拆卸管道接头时,会使用法兰。这些主要用于设备、阀门和特种物品。在定期进行维护的某些管道中,以预定的时间间隔提供分管法兰。法兰、垫圈和螺栓连接构成法兰接头,由三个独立但相互连接的部件组成。为了实现防漏接头,在选择和应用所有这些元件时需要进行特殊控制。
以下是法兰的优点和应用的详细信息。
法兰的优点
管道、阀门、泵等部件通过法兰连接,形成管道系统。通常,法兰是焊接或拧在一起的。法兰的使用使管道系统的维护和维修变得轻而易举。可以仔细调查一小部分管道,使用法兰定位故障,而不是对整个管道进行检查。
以下是法兰的五个最重要的好处 以下是法兰的五个最重要的好处:
- 在狭小空间内轻松组装,如果使用传统法兰接头,扳手可能没有间隙。扭矩适中,它们更容易组装在一起。
- 在需要灵活性的难以到达的区域,可以移除软管管路、管道或管道中的适配器。
- 具有高压、振动或冲击压力的管道连接、管道或大型软管连接件,可能更容易损坏传统的大型液压配件。
- 在金属管或连续管道等刚性生产线中,进行连接便于维护。
- 在要求苛刻的液压应用中,减少部件松动的机会。
法兰是连接管道、阀门、泵和其他设备形成管道系统的一种方法。它还为清洁、检查或修改提供了便利。法兰通常是焊接或螺钉的。
在许多应用中,工程师需要找到一种以非常安全的方式关闭腔室或气缸的方法,通常是因为内部的物质必须与外部的物质在成分或压力上不同。
他们通过在唇缘上用一圈螺栓将两块金属或其他材料固定在一起来做到这一点。这个“唇”是一个法兰。
管道
您可以通过将两段金属管道焊接或焊接在一起来连接它们,但以这种方式连接的管道在高压下很容易爆裂。更牢固地连接两段管道的一种方法是使用螺栓连接法兰端。这样,即使气体或液体在管道内积聚到高压,它通常也能毫无问题地保持。
力学
为了连接大型封闭区域的两部分,通常最好使用法兰和螺栓。这方面的一个例子是汽车中发动机和变速器之间的连接。在这种情况下,发动机和变速箱都包含许多运动部件,如果内部有灰尘或其他小物体,这些部件很容易损坏。通过以这种方式连接发动机和变速箱的外壳,工程师可以保护两者的内部工作原理。
电子学
法兰在相机和其他电子设备中具有特定用途。尽管此类物品中的法兰通常不必承受高压,但它们必须紧紧固定,以便防止有害颗粒进入。这些法兰通常连接两种不同的材料,例如镜头的玻璃和相机机身的其余部分。
交货
钢法兰必须采用适航包装方法包装,然后交付给客户,通常包装方式包括木箱、木托盘、钢铁笼、钢铁托盘等。
法兰标记
法兰标记受 ANSI ASME 规范约束。法兰标记包括;
- 制造商标志
- ASTM 材料代码
- 材料等级
- 服务额定值(压力-温度等级))
- 大小
- 厚度(明细表)
- 加热编号
- 特殊标记,如果有任何 QT(淬火和回火)或 W(焊接修复)
PMI-原材料检验
尺寸检查
ASME B16.5 和 B16.47 标准涵盖了允许的检查公差。
- 主体外径和内径
- 螺栓圆和螺栓孔直径
- 轮毂直径和焊端厚度
- 轮毂长度
- 螺栓孔的直线度和对齐度
包装
由于正常的木箱或木托盘必须进行熏蒸处理,因此我们通常使用胶合板托盘或胶合板箱或箱来包装钢法兰,无需熏蒸处理。