承插焊法兰(Socket Weld Flange,简称 SO 法兰)是一种通过 “管道插入 + 局部焊接” 实现固定的法兰类型,核心结构特点是法兰本体带有一个用于插入管道的承口(Socket) ,管道插入承口后在法兰外侧进行角焊缝焊接固定。它兼顾了焊接法兰的密封性与螺纹法兰的便捷性,是小口径、中低压管道系统(尤其 DN≤50)的常用连接部件。
一、承插焊法兰的核心结构与工作原理
1. 关键结构组成(区别于其他法兰的核心)
承口(Socket):法兰内孔设计为 “阶梯孔”,靠近法兰盘一侧的孔径略大(形成凹槽状承口),孔径尺寸与所连接管道的外径完全匹配,管道可直接插入承口内,确保定位精准(避免管道偏移);
法兰盘与螺栓孔:承口外侧延伸为圆盘状法兰盘,圆周均匀分布螺栓孔(用于夹紧配对法兰),盘面设计有密封面(如平面、凹凸面),需搭配垫片实现介质密封;
焊接坡口:承口与法兰盘连接处的外侧通常设计有浅坡口,便于焊接时形成角焊缝,增强法兰与管道的连接强度。
2. 工作原理
管道定位插入:将管道一端插入法兰的承口内,承口的内径与管道外径紧密配合,实现管道与法兰的初步定位(管道插入深度需符合标准,通常为承口深度的 80%-90%);
角焊缝固定:在法兰外侧的焊接坡口处进行角焊缝焊接,焊缝将管道与承口牢牢固定(无需全熔透焊接,仅需焊透管道外壁与承口内壁的结合面);
密封夹紧:将两个配对的承插焊法兰对齐,密封面间放置垫片,通过对角拧紧螺栓,利用螺栓夹紧力压实垫片,阻止介质泄漏。
二、承插焊法兰的核心性能特点
定位精准,安装便捷:承口结构可直接 “套住” 管道,无需额外对中工具即可实现管道与法兰的精准对齐,焊接仅需在外侧进行角焊缝作业(相比对焊法兰的全熔透焊接,操作更简单,对焊工技术要求较低);
连接强度适中:角焊缝虽不如对焊法兰的全熔透焊缝强度高,但足以承受中低压(≤PN10MPa)和中温(≤300℃)工况,且承口的包裹式结构能减少管道振动对连接的影响;
密封稳定性较好:法兰盘刚性优于螺纹法兰,螺栓夹紧时不易变形,搭配适配垫片后,密封性能优于螺纹法兰(尤其适用于对泄漏要求略高的小口径管道);
适用口径局限:因承口加工难度随口径增大而提升,且大口径管道采用承插焊时焊缝强度不足,故承插焊法兰主要用于小口径管道(通常 DN≤50,最大不超过 DN100)。
三、承插焊法兰的分类(按关键维度)
1. 按密封面类型(适配压力与介质)
平面密封面(FF):结构简单,成本低,密封面为平面,需搭配弹性垫片(如橡胶垫、四氟垫),适用于低压小口径场景(PN≤2.5MPa,DN≤25),如民用给排水、压缩空气管道;
凹凸面密封面(MFM):一个法兰为凸面,配对法兰为凹面,垫片嵌入凹面内(防垫片移位),密封性能优于平面,适用于中低压场景(PN2.5~PN10MPa,DN25~DN50),如化工小口径溶剂管道、液压系统管道;
榫槽面密封面(TG):密封面为榫槽结构,垫片被完全包裹,密封性能极佳,适用于中压、易燃易爆或有毒介质的小口径管道(如燃气小口径分支管道、化工有毒试剂输送管道),但成本较高,安装时需注意榫槽对齐。
2. 按材质(适配介质与温度)
不锈钢承插焊法兰:如 304、316,耐腐蚀性强,适用于食品医药(卫生级小口径管道)、化工(酸性 / 碱性介质)场景,温度范围 - 196℃~450℃;
碳钢承插焊法兰:如 Q235B、20#,成本低、强度适中,适用于无腐蚀性介质(如水、蒸汽、压缩空气)的中低压小口径管道,温度范围 - 29℃~425℃;
合金钢承插焊法兰:如 12Cr1MoV,耐高温、抗蠕变性能好,适用于中压高温小口径管道(如小型锅炉的辅助蒸汽管道,温度≤550℃),但应用较少(小口径高温管道多优先选对焊法兰)。
3. 按标准(全球主流标准)
不同标准规定了承插焊法兰的承口尺寸、焊缝要求、压力等级,选型需统一标准:
标准体系 常用标准号 关键参数表示方式 适用区域 / 场景
国标(中国) GB/T 9113-2022 公称通径 DN + 公称压力 PN 国内小口径中低压管道(如化工、市政)
美标(美国) ASME B16.5 公称通径 NPS + 压力等级 Class 出口项目、美标体系小口径管道(如石油化工分支管道)
欧标(欧盟) EN 1092-1 公称通径 DN + 压力等级 PN 欧洲地区小口径管道
日标(日本) JIS B2220 公称通径 DN + 压力等级 JIS 日本及日系企业小口径管道
四、承插焊法兰的关键选型参数(必须匹配)
选型时需确保以下参数与管道、设备完全兼容,否则会导致安装失败或密封失效:
公称通径(DN/NPS):法兰的公称通径需与管道一致(如 DN25 管道对应 DN25 法兰),且需注意承插焊法兰的适用口径(通常 DN≤50);
承口尺寸:法兰承口的内径需与管道的外径完全匹配(如 DN25 管道外径 33.7mm,对应法兰承口内径也为 33.7mm),避免 “过松” 导致焊接时管道偏移,或 “过紧” 无法插入;
压力等级(PN/Class):法兰额定压力需≥管道设计压力,承插焊法兰常用压力等级为 PN2.5、PN4.0、PN10(对应 Class 150、Class 300),不可用于高压(PN>10MPa)场景;
材质:需与管道材质兼容(如 304 管道配 304 法兰),同时耐受介质腐蚀(如酸性介质选 316,普通水选碳钢)和工况温度(≤300℃);
密封面类型:根据压力、介质泄漏风险选择(低压选平面,中压或有毒介质选榫槽面),且配对法兰的密封面需一致(如凹凸面法兰配凹凸面法兰)。
五、承插焊法兰的应用场景与注意事项
1. 典型应用领域
小口径工业管道:石油化工的工艺分支管道(DN25~DN50,如溶剂取样管道、添加剂注入管道)、液压系统的小口径油管(中压,需稳定密封)、压缩空气的分支管道(低压,安装便捷);
民用与市政管道:小区供暖的入户支管(DN20~DN32,中低温)、商用厨房的燃气分支管道(小口径,需密封可靠)、纯净水输送的小口径管道(不锈钢材质,卫生级);
设备连接管道:泵、阀门的小口径进出口管道(如小型离心泵的冷却水管 DN25,便于安装与后期维护)、仪表连接管道(如压力仪表的引压管 DN15,需精准定位)。
2. 安装与使用注意事项
管道插入深度控制:管道插入承口的深度需符合标准(通常为承口深度的 80%-90%),插入前需清理承口和管道外壁的油污、锈迹,避免杂质影响焊接质量;
焊接要求:焊接时需采用 “角焊缝”,焊缝高度需符合标准(通常不小于管道壁厚的 1.5 倍),确保焊透管道外壁与承口内壁(避免 “虚焊” 导致连接强度不足);焊接后需清除焊渣,必要时进行渗透检测(PT)检查焊缝是否有裂纹;
避免 “未焊透” 与 “过焊”:未焊透会导致密封失效,过焊会导致法兰变形(影响密封面贴合),需控制焊接电流与焊接速度;
垫片选择:垫片材质需适配介质(如燃气选耐油橡胶垫,酸性介质选四氟垫),垫片尺寸需与密封面匹配(过大 / 过小均会导致泄漏);
定期维护:长期使用后需检查焊缝是否锈蚀、螺栓是否松动,中压或腐蚀性场景需每半年检查一次,发现焊缝渗漏需及时补焊或更换法兰。
六、承插焊法兰与带颈对焊法兰、螺纹法兰的核心区别
承插焊法兰(SO)常与带颈对焊法兰(WN)、螺纹法兰(TH)混淆,三者核心差异如下:
对比维度 承插焊法兰(SO) 带颈对焊法兰(WN) 螺纹法兰(TH)
连接方式 管道插入承口 + 外侧角焊缝 颈部与管道全熔透对焊 螺纹拧合(无焊接)
适用口径 小口径(DN≤50,最大 DN100) 全口径(DN15~DN2000) 中小口径(DN15~DN100)
适用压力温度 中低压中温(PN≤10MPa,T≤300℃) 高压高温(PN≥2.5MPa,T≥300℃) 低压常温(PN≤1.6MPa,T≤200℃)
结构强度 中(角焊缝,承口辅助定位) 高(全熔透焊缝,颈部分散应力) 低(依赖螺纹啮合)
安装难度 中(需焊接,对焊工要求较低) 高(需专业焊工,焊后无损检测) 低(无需焊接,现场可快速安装)
密封可靠性 中(法兰刚性较好,垫片密封稳定) 高(刚性强,密封面不易变形) 较低(依赖螺纹密封胶 / 生料带)
简言之,小口径、中低压、需一定密封强度且允许简单焊接的场景选承插焊法兰;全口径、高压高温场景选带颈对焊法兰;低压常温、禁止焊接或需频繁拆卸的场景选螺纹法兰。
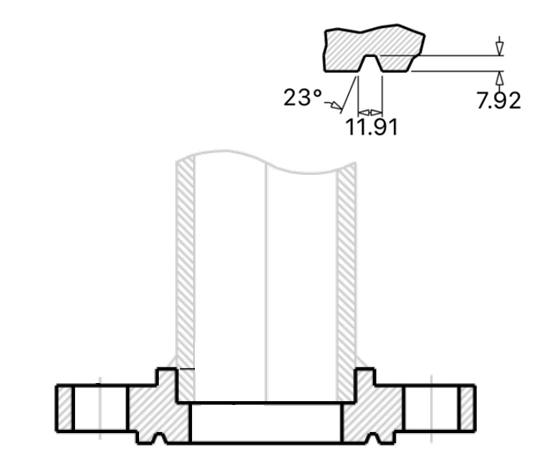
承插焊法兰与滑套法兰类似,只是它具有孔和沉孔尺寸。
沉孔比配套管道的外径稍大,允许管道插入法兰中,类似于滑套法兰。
较小孔径的直径与抹茶管的内径相同孔的底部内置了一个限制装置,该限制装置设置为管道放置的肩部。
如何使用
将管端插入承插焊法兰,直到管底接触肩部区域,将插入的管向后拉 1.6 毫米(1/16 英寸)的距离,然后进行角焊。关键是在法兰和管道或管件之间形成一个膨胀间隙(1 个角焊缝)。
承插焊法兰是如何生成的
承插焊法兰首先用于不锈钢过热器,避免了加热过程中热应力引起的开裂缺陷,经过多年的发展,它成为所有类型材料的标准应用。
承插焊接法兰面类型
承插焊法兰包括射频型和 RTJ 型,与其他类型的焊接法兰(滑套法兰、对焊法兰或盲板法兰)一样。
射频类型
射频承插焊法兰有一小部分围绕法兰孔突出于表面。垫片座将放置在该凸起区域。

RTJ 类型
凸起的面面有一个RTJ型凹槽,可以放置垫圈以获得更好的密封性能。

优势
- 承插焊法兰可以代替螺纹法兰,以最大限度地降低泄漏风险。
- 焊接前无需斜切。
- 焊接工作在管道外,不会穿透管孔
- 推荐用于内部焊接作特别困难的应用。这种袜焊结构消除了内部口袋,同时避免了焊接热的翘曲和焊接飞溅对法兰面的损坏。与法兰上的滑动具有相同的内部压力,并且具有更好的疲劳寿命。
弊:
- 承插焊法兰对焊工的技能要求更高,焊接需要确保管道与肩部之间的膨胀间隙为1/16英寸。
- 膨胀间隙为裂纹缺陷创造了机会,特别是对于不锈钢管等防腐管,因此管道与法兰之间的裂纹会引起腐蚀问题。因此,SW 法兰与腐蚀性或放射性环境不兼容,因为接头处的这种固体堆积会导致作和维护问题。所以这就是为什么人们更频繁地使用焊接,因为焊接完全穿过管道从外到内,这使得连接更加坚固和防腐。
承插焊法兰与滑套法兰
承插焊法兰形状与滑动法兰相似,不同的是它在内孔处有一个肩部。
承插焊法兰的静强度等于法兰上的滑动,但它的疲劳强度比法兰上的双焊滑动高50%。

Slip On 法兰 - 内孔无肩部。
参考标准和等级
- ASTM A105 用于管法兰上的碳钢滑移。
- ASTM A182 用于法兰上的合金和不锈钢滑动。(F11、F22用合金,F304/F304L、F316/F316L用不锈钢)
- ASME B16.5 用于管法兰和法兰管件。
- 学士3293
- DIN 86029 标准
承插焊法兰数据表
| 类 | 凸起的脸 |
| ANSI 150 | 插座,ANSI 150 级(英寸) |
| 安西300 | 插座,ANSI 300 级(英寸) |
| ANSI 400 | 插座,ANSI 400 级(英寸) |
| ANSI 600 标准 | 插座,ANSI 600 级(英寸) |
| ANSI 900 | 插座,ANSI 900 级(英寸) |
| 安西 1500 | 插座,ANSI 1500 级(英寸) |
| ANSI 2500 | 插座,ANSI 2500 级(英寸) |
承插焊法兰的用途
- 它们是小直径应用的理想选择。
- 它们用于高压应用。
- 承插焊法兰的内径上有一个内凹槽,允许工艺流体的流动。
- 它们通过适当的焊接和研磨形成光滑的孔。
承插焊法兰是一种管道连接用的法兰类型,属于带承口的法兰管件,核心特点是通过 “承插焊接” 的方式实现管道与法兰的连接。
它带有一个承口(即内部的凹槽或套筒结构),安装时将管道插入承口内,再围绕接口处焊接,使管道与法兰形成牢固且密封的连接。这种结构能有效减少焊接应力,提升连接的抗疲劳性。
- 适用于中高压、小口径的管道系统(通常管径≤DN50),常见于石油化工、电力、制药等对密封和压力要求较高的领域。
- 也用于需要频繁拆装或检修的管路节点,因焊接后仍具备一定可拆卸性(若需更换,可对焊缝进行处理后分离)。

材料
管法兰采用所有不同的材料制造,如不锈钢、铸铁、铝、黄铜、青铜、塑料等,但最常用的材料是锻造碳钢,并具有机加工表面。
法兰焊接到管道和设备喷嘴上。因此,它由以下材料制成;
- 碳钢
- 低合金钢
- 不锈钢
- 异国情调材料(短管)和其他背衬材料的组合
ASME B16.5 和 B16.47 涵盖了制造中使用的材料列表。
- ASME B16.5 - 管法兰和法兰管件 NPS 1/2“ 至 24”
- ASME B16.47 - 大直径钢法兰 NPS 26“ 至 60”
常用的锻造材料等级有
- 碳钢: – ASTM A105、ASTM A350 LF1/2、ASTM A181
- 合金钢: – ASTM A182F1 /F2 /F5 /F7 /F9 /F11 /F12 /F22
- 不锈钢: – ASTM A182F6 /F304 /F304L /F316 /F316L/ F321/F347/F348
常用的astm牌号
| 材料 | 配件 | 法兰 | 阀 | 螺栓和螺母 |
|---|
| 碳钢 | A234 克 WPA | 答105 | A216 克 WCB | A193 Gr B7 A194 Gr 2H |
| A234 克 WPB | 答105 | A216 克 WCB |
| A234 克木塑 | 答105 | A216 克 WCB |
碳钢 合金 高温 | A234 Gr WP1 | A182 Gr F1 | A217 Gr WC1 | A193 Gr B7 A194 Gr 2H |
| A234 Gr WP11 | A182 Gr F11 | A217 GR型WC6 |
| A234 Gr WP12 | A182 Gr F12 | A217 GR型WC6 |
| A234 格 WP22 | A182 Gr F22 | A217 Gr WC9 |
| A234 克 WP5 | A182 Gr F5 | A217 克 C5 |
| A234 大 WP9 | A182 Gr F9 | A217 Gr C12 |
碳钢 合金低温 | A420 Gr WPL6 | A350 Gr LF2 | A352 Gr LCB | A320 Gr L7 A194 Gr 7 |
| A420 大 WPL3 | A350 Gr LF3 | A352 Gr LC3 |
| 奥氏体不锈钢 | A403 Gr WP304 | A182 Gr F304 | A182 Gr F304 | A193 Gr B8 A194 Gr 8 |
| A403 大 WP316 | A182 Gr F316 | A182 Gr F316 |
| A403 格 WP321 | A182 Gr F321 | A182 Gr F321 |
| A403 格 WP347 | A182 Gr F347 | A182 Gr F347 |
ASTM 标准定义了材料的具体制造工艺,并通过碳、镁、镍等允许量的百分比确定管道、管件和法兰的确切化学成分,并用“等级”表示。
法兰的常用材料包括不锈钢、碳钢、铝和塑料。材料的选择很大程度上取决于法兰的用途。例如,不锈钢更耐用,是大量使用所必需的。另一方面,塑料因其价格合理且易于安装而更适合在家中使用。法兰所用材料属于美国机械工程师协会的指定。
符合 ASTM 的法兰材料
管法兰(锻造牌号)最常见的材料是:ASTM A105(碳钢高温匹配 A53/A106/API 5L 管)、A350 牌号 LF1/2/3(碳钢低温匹配 A333 管)、A694 牌号 F42 至 F80(高屈服碳钢匹配 API 5L 管材牌号)、ASTM A182 牌号 F5 至 F91(合金钢法兰匹配 A335 管), A182 牌号 F304/316(不锈钢法兰与 A312 不锈钢管相匹配)、A182 Gr. F44/F51/F53/F55(双相和超级双相与 A790/A928 管相匹配)和各种镍合金牌号(铬镍铁合金、铬钴合金、哈氏合金、蒙乃尔合金)。
这些法兰的材料质量在 ASTM 标准中定义。
什么是 ASTM 等级?
例如,碳钢管可以识别为A级或B级,不锈钢管可以识别为TP304级或TP321级,碳钢管件可以识别为WPB级等。

法兰的国标标准主要有《GB/T 9112~9124-2010 钢制管法兰》,该标准由中华人民共和国国家质量监督检验检疫总局和中国国家标准化管理委员会于 2011 年 1 月 10 日联合发布,从 2011 年 10 月 1 日起实施,是推荐性标准。
《GB/T 9112~9124-2010 钢制管法兰》一共包括了 13 项标准,具体如下:
- GB/T 9112-2010:钢制管法兰类型与参数;
- GB/T 9113-2010:整体钢制管法兰;
- GB/T 9114-2010:带颈螺纹钢制管法兰;
- GB/T 9115-2010:对焊钢制管法兰;
- GB/T 9116-2010:带颈平焊钢制管法兰;
- GB/T 9117-2010:带颈承插焊钢制管法兰;
- GB/T 9118-2010:对焊环带颈松套钢制管法兰;
- GB/T 9119-2010:板式平焊钢制管法兰;
- GB/T 9120-2010:对焊环板式松套钢制管法兰;
- GB/T 9121-2010:平焊环板式松套钢制管法兰;
- GB/T 9122-2010:翻边环板式松套钢制管法兰;
- GB/T 9123-2010:钢制管法兰盖;
- GB/T 9124-2010:钢制管法兰 技术条件。
此外,还有一些其他相关的国标标准,如GB/T 14383-2015《锻钢制承插焊和螺纹管件》、GB/T 13402-2013《大口径碳钢管法兰》等。
关于法兰和法兰管件的最常见问题与法兰如何安装在特定的钢管和钢管端部有关。
法兰如何工作?

法兰具有垂直于其所连接的管道的平坦或齐平表面。连接过程涉及使用螺栓、粘合剂、套环或焊缝机械连接两个或多个面。由于连接要求,法兰必须适合其设计的设备或管道。这就是为什么有必要检查所有可能的规格和尺寸,以确定其尺寸、类型和材料是否正确。
法兰连接的三个部分是什么?
管法兰、垫圈和螺栓是构成法兰连接的三个部分。垫圈和螺栓通常由相同的法兰材料或经批准用于管道组件的材料制成。每个组件都有适合特定应用的各种材料,必须正确匹配才能正常运行。垫圈有两种常规类型:全面垫圈和环形垫圈。全罩式垫圈的螺栓孔可见,并与凸面垫圈配对。环形垫圈往往是较小的环,减去螺栓孔,并与平面法兰配对。固定法兰部件需要均匀且垂直地匹配表面,并根据需要进行调整以实现均匀配合。一旦所有表面都匹配,将法兰放在一起并固定至少两个螺栓。细化对齐方式,使剩余的螺栓孔匹配并紧固其相应的螺栓。
如何正确确定管道使用的法兰尺寸?
正确确定管道用法兰的尺寸不仅取决于法兰的类型,还取决于其兼容的管道。管道必须轻松安全地滑入法兰的内径,外径应覆盖墙孔。一旦确定了工作所需的特定法兰类型和材料,您将需要进行多次测量。您需要的四个测量值是内径、外径、螺栓孔数和螺栓孔中心。您需要将这些测量值中的每一个与相对的螺栓孔对齐,以获得最准确的读数。从边缘到边缘进行所有测量,并尝试尽可能精确以匹配正确的产品。将螺栓直径四舍五入到下一个半步或整步,因为螺栓的尺寸是半英寸或整英寸。完成所有四个测量值后,请根据制造商的表格检查它们以找到正确的法兰。大多数制造商在其网站上列出了这些规格,以便于参考。
法兰检测
在出厂前,每个法兰都经过检查以确保质量。在检查过程中,您必须检查以下内容;
- 主体外径和内径
- 螺栓圆和螺栓孔直径
- 轮毂直径和焊端厚度
- 轮毂长度
- 螺栓孔的直线度和对齐度
ASME B16.5 和 B16.47 标准涵盖了允许的检查公差。
法兰材料标准
法兰用于连接各个行业的管道或其他设备部件,它们有多种材料和尺寸。法兰材料标准由标准制定组织制定,描述了可用于制造法兰的不同材料的特性和特性。常用法兰材料标准的一些示例包括:
- ASTM A105:本标准涵盖适用于高压应用的锻造碳钢管道部件,包括法兰。
- ASTM A182:本标准涵盖锻造或轧制合金钢管法兰、锻造管件以及用于高温使用的阀门和零件。
- ANSI B16.5:本标准规定了钢管法兰和法兰管件的尺寸、公差和标记。
- DIN 2632-2638:本标准定义了钢制成的法兰的尺寸和公差,包括碳钢、不锈钢和其他合金。
- ASME B16.47:本标准涵盖大直径钢法兰,通常用于需要更大孔径的高压应用。
- BS 4504:该英国标准涵盖用于管道、阀门和管件的圆形法兰,公称尺寸范围为 15 至 600 毫米。
法兰材料标准的选择将取决于多种因素,例如应用、环境、输送的流体和所需的性能特征。例如,高压应用可能需要由高强度和耐用性材料制成的法兰,而腐蚀性环境可能需要由具有良好耐腐蚀性的材料制成的法兰。
法兰连接
连接法兰的方法有很多种,包括螺纹、焊接或螺栓连接。螺纹法兰最适合低压或较小的管道,因为它可以保持其密封性。当您的管道较大或压力较高时,焊接法兰是优选的。锅炉房是可能使用焊接盲板法兰的地方之一,因为涉及高压。
法兰接头:法兰、螺栓、螺母和垫片
法兰是管道、阀门和其他流动装置末端的外肋,用于组装它们。
法兰尺寸符合特定标准:DIN、ANSI、AS、BS、JIS
法兰连接需要两个法兰(“主法兰”和“配套法兰”)、一组螺栓和螺母(其数量取决于法兰直径和等级)以及两个密封垫圈。法兰连接必须由经过培训的人员执行和监督,因为接头的质量对管道系统/管道的性能有关键影响(标准 TSE – TS EN 1591 第 1-4 部分,“法兰及其接头”,定义了执行正确法兰连接的许多要求)。虽然接头的所有元件都至关重要,但经验表明,大多数泄漏是由密封元件(即垫圈)安装不当引起的。
典型的管道与法兰连接是焊接或螺纹的。焊接法兰用于高压和高温、直径大于 2 英寸的管道和管道系统。
螺纹连接用于较小直径的安装,并且不会受到严重的机械力,例如膨胀、振动、收缩、振荡(会使螺纹接头破裂的力)。在所有这些关键情况下,建议使用对焊连接。

应用
法兰是连接管道、阀门、泵等设备形成管道系统的方法。它还提供了易于清洁、检查或修改的通道。
当需要拆卸管道接头时,会使用法兰。这些主要用于设备、阀门和特种物品。在定期进行维护的某些管道中,以预定的时间间隔提供分管法兰。法兰、垫圈和螺栓连接构成法兰接头,由三个独立但相互连接的部件组成。为了实现防漏接头,在选择和应用所有这些元件时需要进行特殊控制。
以下是法兰的优点和应用的详细信息。
法兰的优点
管道、阀门、泵等部件通过法兰连接,形成管道系统。通常,法兰是焊接或拧在一起的。法兰的使用使管道系统的维护和维修变得轻而易举。可以仔细调查一小部分管道,使用法兰定位故障,而不是对整个管道进行检查。
以下是法兰的五个最重要的好处 以下是法兰的五个最重要的好处:
- 在狭小空间内轻松组装,如果使用传统法兰接头,扳手可能没有间隙。扭矩适中,它们更容易组装在一起。
- 在需要灵活性的难以到达的区域,可以移除软管管路、管道或管道中的适配器。
- 具有高压、振动或冲击压力的管道连接、管道或大型软管连接件,可能更容易损坏传统的大型液压配件。
- 在金属管或连续管道等刚性生产线中,进行连接便于维护。
- 在要求苛刻的液压应用中,减少部件松动的机会。
法兰是连接管道、阀门、泵和其他设备形成管道系统的一种方法。它还为清洁、检查或修改提供了便利。法兰通常是焊接或螺钉的。
在许多应用中,工程师需要找到一种以非常安全的方式关闭腔室或气缸的方法,通常是因为内部的物质必须与外部的物质在成分或压力上不同。
他们通过在唇缘上用一圈螺栓将两块金属或其他材料固定在一起来做到这一点。这个“唇”是一个法兰。
管道
您可以通过将两段金属管道焊接或焊接在一起来连接它们,但以这种方式连接的管道在高压下很容易爆裂。更牢固地连接两段管道的一种方法是使用螺栓连接法兰端。这样,即使气体或液体在管道内积聚到高压,它通常也能毫无问题地保持。
力学
为了连接大型封闭区域的两部分,通常最好使用法兰和螺栓。这方面的一个例子是汽车中发动机和变速器之间的连接。在这种情况下,发动机和变速箱都包含许多运动部件,如果内部有灰尘或其他小物体,这些部件很容易损坏。通过以这种方式连接发动机和变速箱的外壳,工程师可以保护两者的内部工作原理。
电子学
法兰在相机和其他电子设备中具有特定用途。尽管此类物品中的法兰通常不必承受高压,但它们必须紧紧固定,以便防止有害颗粒进入。这些法兰通常连接两种不同的材料,例如镜头的玻璃和相机机身的其余部分。
交货
钢法兰必须采用适航包装方法包装,然后交付给客户,通常包装方式包括木箱、木托盘、钢铁笼、钢铁托盘等。
法兰标记
法兰标记受 ANSI ASME 规范约束。法兰标记包括;
- 制造商标志
- ASTM 材料代码
- 材料等级
- 服务额定值(压力-温度等级))
- 大小
- 厚度(明细表)
- 加热编号
- 特殊标记,如果有任何 QT(淬火和回火)或 W(焊接修复)
PMI-原材料检验
尺寸检查
ASME B16.5 和 B16.47 标准涵盖了允许的检查公差。
- 主体外径和内径
- 螺栓圆和螺栓孔直径
- 轮毂直径和焊端厚度
- 轮毂长度
- 螺栓孔的直线度和对齐度
包装
由于正常的木箱或木托盘必须进行熏蒸处理,因此我们通常使用胶合板托盘或胶合板箱或箱来包装钢法兰,无需熏蒸处理。